就在昨日又有87款国产游戏的版号获批了,其中不乏大厂游戏,分别包括了腾讯的《王者万象棋》和网易的《梦幻西游时空》等游戏,还想了解更多获批游戏,就赶紧看看下面的资讯内容吧!
2月10日,据国家新闻出版署网站消息,国家新闻出版署发布2月国产网络游戏审批信息,共87款游戏获批。
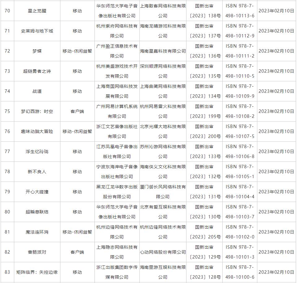
在此次获批版号的国产游戏中,多家知名游戏公司旗下游戏在列。其中包括网易旗下的《梦幻西游:时空》、腾讯旗下《王者万象棋》、咪咕互娱的《森友突击队》、心动公司的《香肠派对》、中青宝的《英雄之冠》、完美世界的《天龙八部2:飞龙战天》、吉比特子公司雷霆网络的《封神幻想世界》等。
从获批数量来看,2月和1月数量基本相当。此前1月17日,据国家新闻出版署网站消息,国家新闻出版署发布1月国产网络游戏审批信息,共88款游戏获批。
据国家新闻出版署信息显示,去年国家新闻出版署共发放7次游戏版号,共有468款国产游戏版号过审。







由《王者荣耀》原班人马打造的全新英雄策略对战手游《王者万象棋》目前获得版号。
该游戏主打局内策略对战,召唤师可携手王者角色化身的全新Q版棋手形象,在王者的平行宇宙中进行指尖对弈。

游戏工具推荐:
川川云手机可以让游戏24小时在线,全程0耗电,0流量,不占用手机内存。游戏多开,应用多开让搬砖和营销无压力,如果你想体验一下川川云手机请到应用市场或者官方即可体验。